HK-8SS-G 小車的焊接位置在小車的中部。用于一般角焊,特別是長角焊縫的焊接。注意:由于焊接小車向氣保焊機是常通信號,且焊接不可避免地留有殘端,故設置和焊接時焊機的自保回路開關必須關閉……OFF。如果設置成開(ON),則焊接小車停止行走,電弧卻不會熄滅。小車前、后方向行走都可以進行焊接。此小車體積小、重量輕,在不同的條件下,它易于移動和安裝。小車采用四輪驅動,行走具有很高的穩定性。小車調到自動控制狀態,焊接開始。減少操作人員, 一個工人可以同時操作多臺小車進行焊接。沒有經過培訓的工人也可以進行焊接。由于設備的小型化和輕重量以及簡單的自動焊接操作功能,使用本機可以使一個沒有經過培訓的工人比技術工人使用普通焊接器具做出更好的焊接工作。小車裝有焊槍固定架,使焊槍在焊接的時候更加平穩,提高焊接質量。一體化機身,輪軸加裝硅膠密封墊圈,小車內部防塵效果非常好。小車采用銅齒輪傳動,有效的防止系統被磁化。
部件名稱及說明

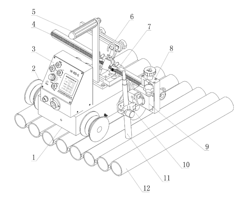
HK-8SS-G由小車本體、X-Y滑塊、導向輪、焊槍把手、焊槍擺動器、控制箱等部件組成。
小車本體部分:是整臺機器的骨架,是其它部分的載體。
|
1.控制面板 |
7.底座 |
|
|
2.控制箱:可以調節小車的所有動作,詳細內容參考“控制面板說明”。 |
8.隔熱擋渣板 |
|
|
9.焊槍 |
||
|
3.提攜手柄:移動機器時提拉此手柄。 4.X-Y移動滑塊:調節焊槍位置的裝置,焊接當中可以將焊槍進行上下左右的微調。 5.導輪桿 6.行走輪 |
||
|
10.焊槍夾持器總成:是焊槍的夾持裝置,可以方便地進行維修、調整和焊槍的拆卸。 |
||
|
11.導向輪:沿著母材面滾動,引導準確焊接部位的裝置。 |
主要技術參數
|
1.外形尺寸 |
305mm×275mm×225mm |
|
|
2.機器重量 |
10.8 Kg |
|
|
3.電源電壓 |
輸入AC220V /輸出DC24V |
|
|
4.功率 |
22W |
|
|
5.吸附力 |
10~25Kg |
|
|
6.焊接速度 |
150~900mm/min |
|
|
7.焊槍調 整范圍 |
上下 |
50mm |
|
左右 |
50mm |
|
|
作業角 |
±45° |
|
|
進行角 |
10° |
|
|
旋轉角度 |
360° |
|
焊接參數
|
焊絲直徑 焊接參數 |
Φ1.2mm |
Φ1.4mm |
Φ1.6mm |
|
|
電流(A) |
平焊 |
120-300 |
150-380 |
180-430 |
|
平角焊 |
120-280 |
150-320 |
180-380 |
|
|
橫焊 |
120-280 |
150-300 |
180-330 |
|
|
電壓(U) |
1) U=14+0.051 2) 300A以下時U=0.041+16±1.50 3) 300A以上時U=0.041+20±2.0 |
|||
|
噴嘴與工件間的距離(H) |
1)200A以下時 H=10~15mm 2)200~350A時 H=15~20mm 3)350~500A時 H=20~25mm |
|||
|
焊絲伸出長度(L) |
一般取焊絲直徑的10倍左右,即L=10d |
|||
裝箱清單
將裝置小心地從包裝箱中取出。首先,檢查各部件以確認其完整。各包裝組件中包含下列零部件:
|
1.主機 |
1臺 |
|
2.DC24電源 |
1套 |
|
3.三芯插頭(連接線20m) |
1套 |
|
4.二芯插頭(連接焊槍連接線5m) |
1套 |
|
5.保險3A |
3只 |
|
6.內六角扳手(M3、M4、M5、M6) |
各一只 |
|
7.說明書,合格證 |
各1份 |